Стандартный образец V1

Стандартный образец V1

Нашли дешевле? Снизим цену!
Наличие уточняйте у менеджера
Уточнить наличие
Доставка в г. Хабаровск
Самовывоз
Целинная ул., 8
Время доставки
от 2-х дней при наличии на складе
Поделиться

Наши преимущества

Бесплатная доставка по всей территории России
Бесплатная доставка
по всей территории России
Бесплатная доставка по всей территории России
Гарантия низкой цены
на все оборудование
Бесплатная доставка по всей территории России
Гарантия производителя
от 1 года до 5 лет
Бесплатная доставка по всей территории России
Официальный дилер
в наличии все сертификаты

Описание стандартного образца V1

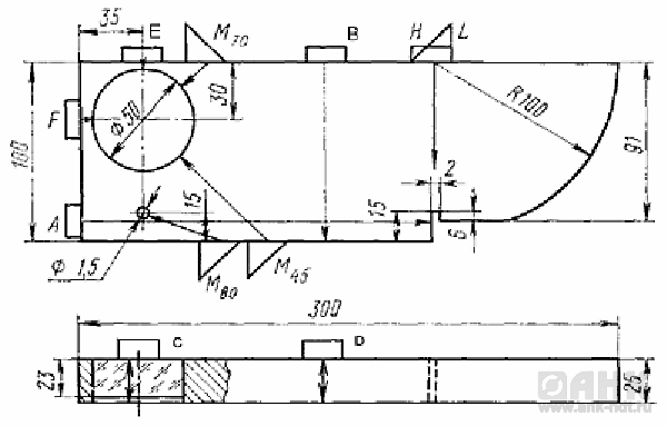
Тип оборудования: Стандартный образец предприятия, контрольный образец для УЗК, СОП для ультразвуковой дефектоскопии, калибровочный образец, эталонный образец для ультразвукового контроля, настроечный образец для ультразвукового дефектоскопа и толщиномера
Производитель: Россия
Серия: V
Модель: V1
Поверка: Включена в стоимость

Калибровочный образец №1 (V1; K1) применяют для:

  • настройки глубиномера дефектоскопа и проверки линейности развертки.
  • настройки глубиномера дефектоскопа для поперечных волн.
  • определения точки выхода УЗК и стрелы наклонного ПЭП.
  • определения угла ввода наклонного ПЭП.
  • проверки минимальной глубины прозвучивания, «мертвой» зоны, прямых или раздельно-совмещенных ПЭП
  • проверки разрешающей способности прямых
  • задания условной чувствительности дефектоскопа с использованием прямых ПЭП. задания условной чувствительности дефектоскопа при работе с наклонным ПЭП. 

Сертификаты

Соответствует: ДСТУ 4001-2000, EN 12223, ISO2400-1972. 

Комплект поставки

  • Стандартный образец V1;
  • паспорт;
  • свидетельство о поверке;
  • упаковка.
Дополнительные материалы

Загруженных файлов нет

Как купить?
Сделать заказ через интернет-магазин в нашем каталоге продукции

В течение рабочего дня Вам будет выставлен счет на оплату, в котором будет указано наименование товара, цена, количество и срок отгрузки в Ваш адрес.

Направить нам заявку по электронной почте, указанной на странице выбранного Вами товара.

В заявке необходимо указать наименование и количество нужного Вам товара, а также реквизиты организации плательщика.

Посетить наш офис, сделать заявку и получить счет на оплату в отделе продаж

В выставочном зале Вы можете ознакомиться с предлагаемыми нами оборудованием, а технические специалисты помогут Вам выбрать нужную продукцию.

Доставка

Мы имеем возможность доставки товара в любую точку России, интересующей транспортной компанией или курьерской службой:

Товар можно доставить как до терминала транспортной компании, так и, непосредственно, до двери.

Стоимость доставки рассчитывается специалистами логистической службы нашей компании в кратчайшие сроки в необходимое место по желанию заказчика.

Уточнить условия и стоимость доставки Вы можете, связавшись со специалистами нашей компании.

Оплата
Юридическим лицам

С юридическими лицами отношения регламентируются договором, счетом на оплату, товарной накладной, счет-фактурой (УПД) и безналичным переводом денежных средств из банка Покупателя на расчетный счет Продавца.

Физическим лицам

Физическое лицо также может произвести оплату на наш расчетный счет банковским переводом или наличными средствами. При получении товара передается пакет документов: оригинал счета на оплату продукции, товарная накладная и счет-фактура (УПД).

Похожие товары

Хит
Рейсшина RELS СО-2
Хит
Стандартный образец V2
Хит
Рейсшина RELS СОП
Остались вопросы?
Получите бесплатную консультацию у наших менеджеров!
Нужна помощь?